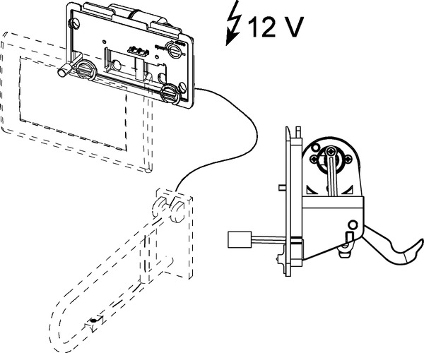
Mechanizm spłukujący elektroniczny do WC TECE planus 12 V, przycisk elektryczny montowany na poręczy - wersja przewodowa
Do budownictwa bez barier, do zdalnego uruchamiania spłuczek TECE za pomocą przycisku z zasilaniem przewodowym zamontowanego na poręczy lub w ścianie. Odpowiedni do standardowych spłuczek TECE (głębokość montażowa 13 cm) uruchamianych z przodu i o wysokości mechanizmu uruchamiającego ok. 1 M. Możliwe dodatkowe manualne uruchamianie spłukiwania przyciskiem spłukującym (nie dołączony do zestawu).
W skład zestawu wchodzi:
Regulowana ilość spłukiwanej wody 4,5/6/7,5 lub 9 litrów
Zasilanie zewnętrznym transformatorem 230/12 V (transformator nie jest dołączony do zestawu)
Silniczek uruchamiający
Dane techniczne
Napięcie zasilania [V]
12
Rodzaj akcesorium/części
Mechanizm spłukujący elektroniczny do WC
Uruchomienie spłukiwania
przycisk elektryczny montowany na poręczy - wersja przewodowa








